ЭГК интеграция
продукция для промышленной автоматизации
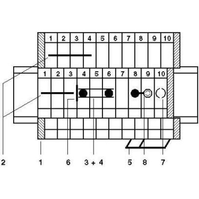
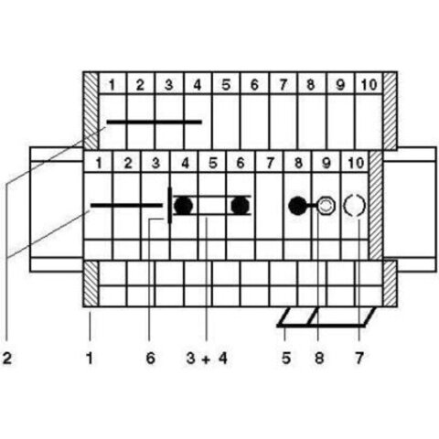
Миниатюрная проходная клемма, номинальное напряжение: 500 В, номинальный ток: 24 A, тип подключения: Винтовые зажимы, 1. и 2-ий ярус, Расчетное сечение: 2,5 мм2, cечение: 0,2 мм2 - 4 мм2, тип монтажа: NS 15, NS 35/7,5, NS 35/15, цвет: cерый
| Количество точек подключения на ярус | 2 |
| Номинальное сечение | 2,5 мм² |
Похожие товары